Отвертка "Мастер" PH075 (КВТ) 77400
Характеристики:
(смотреть все)
Код производителя
77400
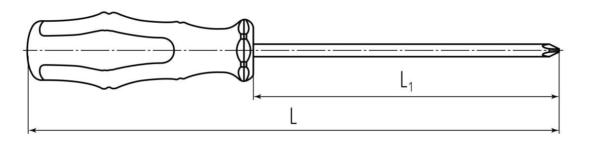
Длина стержня, мм
Материал рукоятки
Тип наконечника
Размер шлица
86 руб. без НДС
105 руб. с НДС
Нашли данный товар дешевле?
